您的當前位置:首頁 > 產品知識 > 更多產品知識 > 水力分析
作者:紅星機器 發布時間:2017-06-25 18:07:02
水力分析(簡稱水析)是借測定顆粒的沉降速度間接測量顆粒粒度組成的方法。常用于小于0.1mm物料的粒度組成測定。常用水析法有三種:重力沉降法、上升水流法和離心沉降法。測定對象是小于0.1mm的物料。測定條件在自由沉降條件下進行,懸浮液的固體容積濃度小于3%,按斯托克斯沉降速度公式計算,即
![]()
 式中       h———沉降距離,m;
                 t———沉降時間,s;
其他符號意義同前。為了防止水析過程中固體顆粒團聚,通常加入水玻璃等分散劑,它們在水中的濃度是0.01%~0.2%。
沉降水析法
沉降法中比較簡單而又可靠的方法是淘析法,淘析法的基本原理是利用逐步縮短沉降時間的方法,由細至粗、逐步地將各粒級物料從試料中淘析出來。
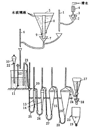
淘析法水析裝置也稱薩巴寧沉降分析儀,如圖3-4-12所示。淘析過程是在一個直徑為70~100mm、高度為150~170mm的玻璃杯1中進行的。杯內裝有一根直徑約為6~10mm的虹吸管2。虹吸管的短管部分應插入杯內,使其管口下端距固體沉淀物料面留有5mm的距離。虹吸管另一端帶有管夾3,插入到溢流收集槽4內。

流接收裝置等。如圖3-4-13所示為一組四管水析器。

這種連續水析器一次可獲得多級產品,操作簡便,只要保持工作正常(及時放出管內氣泡且不使礦粒堵塞膠管),所得結果就較為準確,但水析時間較長。
本篇內容于 2017-06-25 18:07:02 已補充更新上一篇:球徑半理論公式的驗證分析——球徑半理論公式的適應性分析
下一篇:離心沉降法
如果您想了解我們的產品,可以隨時撥打我公司的銷售熱線或點擊咨詢!![]()
推薦閱讀
TOP169鄂破機價格及型號參數鄂破機
TOP257鄂破機一小時能產多少噸物料鄂破機
TOP3時產1000噸石料生產線設備有哪些?多少錢?石料生產線價格
TOP4140圓錐破時產多少石子圓錐破 圓錐破碎機
TOP5小型碎沙機多少錢一臺?碎石機
TOP6一套碎石機大概需要多少錢碎石機
TOP7生產雷蒙磨粉機(雷蒙磨)的廠家磨粉機
TOP8每小時產200噸的石子破碎機多少錢一臺?破碎機
TOP969破碎機一小時處理多少立方石子?破碎機 69顎式破碎機
TOP101060顎破型號有哪些?什么價?顎破 顎式破碎機
TOP11時產500噸石子生產線配置方案_廠家報價生產線
TOP12銷量較好的雷蒙磨粉機型號有哪些雷蒙磨粉機
換一換 ![]()
想讓資深工程師為您設計生產方案?想獲取全套設備優惠報價單?請留言,專業經理即刻開始為您一對一服務!(不用擔心信息泄露,我們將為客戶提供信息保密服務!)
來廠考察即可獲取資深工程師為您設計方案
多機型現貨可選,簽訂合同,2天內發出
售后團隊親臨現場,指導設備安裝、試車,完成交付
跟蹤砂場運營情況,提供生產運營指導,保障砂場快速盈利
河南紅星礦山機器有限公司 總部地址:中國鄭州高新技術產業開發區檀香路8號
工程師免費設計方案已有162位獲得心儀的方案
算一算 搭配一條合適的生產線需要多少錢?
點擊獲取報價